تعمل شركة سامسونج على الاستثمار في أقسام البحث والتطوير خاصةً في الهند، وبالتالي، فهناك عدد من التكنولوجيات المثيرة للاهتمام مع عروض وابتكارات، وهي مصممة خصيصا للسوق سريعة النمو. وتعد أحدث تلك ...
من المتوقع تحقق ظاهرة تفوق الهاتف الذكي على الكمبيوتر المحمول من ناحية معالجة رام(ذاكرة الوصول العشوائي) ابتداء من العام الحالي في أقرب موعد. وكشفت شركة سامسونج للإلكترونيات في منتدى موبايل سولوشون ...
لم تمض شهور قليلة على إطلاق جوجل لإصدارها الأخير "مارشميللو 6"، حتى بدأت في تطوير وإصدار النسخ التجريبية من إصدارها الأحدث من النظام، لتطلق عليه "أندرويد N". ويأتي الإصدار الجديد، حاملاً العديد من ...
السيطرة على حريق بمخازن سامسونج في الفيوم صور سيدة ونجلها كانا على متن الطائرة المفقودة رجل أعمال من السويس ضمن ضحايا الطائرة المفقودة إصابة مجندين في انفجار عبوة ناسفة بالشيخ زويد هروب متهم من ...
تمكنت قوات الدفاع المدني وسيارات الإطفاء من السيطرة على حريق بمخازن شركة سامسونج بشارع خالد باشا( السنترال) وسط مدينة الفيوم، قبل أن تمتد النيران إلى الكتلة السكنية المجاورة. وكانت مديرية أمن الفيوم ...
أعلنت شركة سامسونج مساء أمس، عن الإطلاق التجاري لشاشاتها العاكسة، وذلك من خلال تركيبها لأول مرة في صالون الحلاقة "Leekaja Hair Bis" في العاصمة الكورية الجنوبية سول. وقالت شركة الإلكترونيات الكورية ...
كشفت شركتا سامسونج وإل جي عن الجيل القادم من منتجاتهما الإستراتيجية التي تحقق الحياة الذكية. عرضت شركة سامسونج للإلكترونيات نمط الحياة الذكية الذي تقدمه أجهزتها الذكية الحديثة خلال معرض تكنولوجيا ...
احتلت شركة سامسونج للإلكترونيات المرتبة الأولى في معظم الأسواق الناشئة للهواتف الذكية، خلال الربع الأول من هذا العام. وقالت شركة التحليل الاستراتيجي الأمريكية (SA) المختصة بدراسة الأسواق اليوم ...
أعلنت شركة "سامسونج" عن إطلاق تطبيق Safety Screen Samsung الجديد، المخصص لمساعدة المستخدمين -خاصة صغار السن منهم- على الإمساك بالأجهزة المتحركة على مسافة مثالية عن الوجه للحفاظ على صحة العينين ...
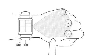
عكفت شركة سامسونج على تطوير تقنية جديدة للساعات الذكية تتيح للمستخدم التحكم فيها من خلال يده، حيث تحول اليد أو الساعد إلى شاشة ثانية، لحل مشكلة صغر حجم الساعات الذكية. وتصف براءة الاختراع، التي ...
أعلنت شركة سامسونج عن إطلاقها بطاقة ذاكرة microSD، أطلقت عليها اسم Evo Plus، وتبلغ مساحتها 256 جيجا بايت، وهى أعلى ذاكرة خارجية للهواتف الذكية، وبذلك تنافس سامسونج بقوة أعلى بطاقة ذكية سبقتها وهى 200 ...
سجلت شركة "سامسونج" براءة اختراع لمشروع تخيلى لساعة ذكية مزودة بشاشة تعمل باللمس على يد الإنسان، حيث يصبح جسم الإنسان جزءا من تلك التقنية والشاشة تعمل عليه باللمس. وأضافت الشركة، أنه يمكن تلقى ...
طرحت شركة "سامسونج"، "لاب توب" اطلقت عليه اسم "نوت بوك 9" الجديد، والذي يتيمز بالنحافة وخفة الوزن وبذلك يتفوق على "لاب توب ماك بوك اير". وتبلغ شاشة ماك بوك 9، 15 بوصة، ويبلغ وزنه 2.9 باوند، ويتميز ...
بدأت شركة «سامسونج» في إنتاج سلسلة جديدة من هواتف C، وتسربت معلومات حول إنتاج الشركة هاتفين جديدين، وهما جالاكسي C5 وc7. وظهرت اليوم تسريبات حول سعر الهاتف في السوق الصيني، حيث يتوقع أن يكون جالاكسي ...
أعلنت شركة "سامسونج" اليوم الأربعاء، عن جهازها اللوحي الجديد لعام 2016 من سلسلة جالاكسي A وهو بحجم 10.1 بوصات ويسمى Galaxy Tab A 10.1 والذي أشيع سابقًا أنه سيكون متاحًا للشراء بالألوان الأبيض والأسود ...