فولكس فاجن تطلق اختراعا جديدا يحسن القيادة الذاتية
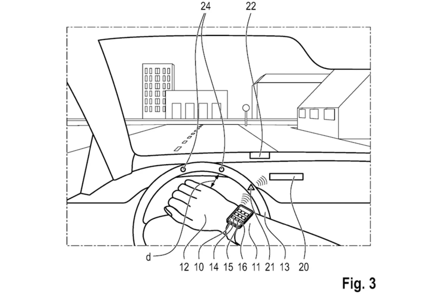
كشفت شركة فولكس فاجن، عن براءة اختراع خاص بالقيادة الذاتية وهو عبارة عن جهاز شبيه بالساعة الذكية للسائقين في سيارات القيادة الذاتية يراقب الجهاز نقل واجبات القيادة من السيارة للسائق.
قدمت فولكس فاجن الابتكار إلى مكتب براءات الاختراع والعلامات التجارية الألماني ، ويوصف اختراع VW بأنه جهازًا يمكن ارتداؤه على الذراع أو حتى الأصابع كخاتم.

سيتضمن الجهاز نظام استشعار يمكنه اكتشاف التسارع وتحديد موضع اليد / الذراع والوقت حتى تصل يد السائق إلى عجلة القيادة. باستخدام هذه المعلومات، تعرف السيارة ما إذا كان ينبغي عليها صيانة أنظمة مساعدة السائق بدون استخدام اليدين أو تقييدها أو إلغاء تنشيطها – وتحديدًا متى يجب القيام بذلك.

واستخدمت السيارات الحديثة الكاميرات وعجلات التوجيه للكشف عن العمل لقياس وعي السائق، لكن جهاز فولكس فاجن يهدف إلى معالجة بعض أوجه القصور في أنظمة المراقبة هذه.
يذكر اختراع VW بشكل حصري التحديات التي تحدث مع أنظمة المستوى 2 من القياده الذاتية، حيث يمكن القيادة بدون استخدام اليدين لفترات زمنية قصيرة. يعد برنامج بلو كروز من فورد Ford مثالًا على مثل هذا النظام، لكن VW تشير إلى أنه لا يزال من الصعب على السيارة مراقبة الوقت بدقة فيما بين ترك السائق للسيارة للعمل ذاتيا، وعودته لاستئناف القيادة.
إشارات الساعة الذكية لمستشعرات السيارة
خلال هذه الفجوة الزمنية بين قيادة السيارة لنفسها، وعودة السائق للقيادة بنفسه تحدث الأخطاء والتحذيرات المضللة مثل التحذيرات الكاذبة والفرامل غير الضرورية في حالات الطوارئ.
هذه الإجراءات تتسبب في توتر واضطراب السائق، وتزيد من مخاطر انعدام السلامة. ولكن من خلال مراقبة نقل وظائف القيادة بدقة أكبر بين الشخص والسيارة بفضل الجهاز القابل للارتداء، تدعي شركة فولكس فاجن أنها تستطيع التغلب على هذه المشكلات.
يمكن إعداد الجهاز بمستشعراته، بما في ذلك مقياس التسارع و/ أو مستشعر الموضع، للاستجابة لسيناريوهات قيادة محددة أو حتى للسائقين الفرديين. على سبيل المثال، قد يستجيب بعض السائقين بشكل موثوق بسرعة لتولي مهام القيادة من السيارة، في حين أن البعض الآخر قد يكون أبطأ باستمرار في القيام بذلك. يمكن للجهاز حساب ذلك بالتعرف على كل سائق بحيث يتم تنشيط أو إلغاء تنشيط الوظائف المستقلة في اللحظة المناسبة بالضبط.
يمكن تحسين قدرة الجهاز القابل للارتداء على تفسير البيانات عند استخدامه مع كاميرات السيارة. إذا اقتربت السيارة، على سبيل المثال، من ازدحام مروري، فقد يقرر الجهاز / الكاميرا أن هناك حاجة لاستئناف تحكم السائق بشكل فوري أكثر من المعتاد. إذا لزم الأمر، يمكن بدء الفرملة تلقائيًا عندما تحدد المستشعرات و/ أو الكاميرات أن التسليم للسائق لن يكتمل بالسرعة الكافية.
واوضحت فولكس فاجن نفسها إن القفزة من المستوى 2 إلى المستوى 3 “هي الأكبر من الناحية الفنية”، حيث يمكن للسيارة أن تتولى زمام الأمور والعديد من الوظائف ولكنها تتطلب تدخل السائق عند الضرورة. .
إذا كان تصميم فولكس فاجن يحقق هذه الوظائف ويمكن أن يفسر بدقة أكبر للسائقين الذين يتفاعلون بسرعة بالنسبة لأولئك الذين لا يتفاعلون، فقد يكون أحد الحلول لتحديات القيادة الذاتية من المستوى 3. هذا هو السبب في أن الاستقلالية من المستوى 3 استغرق وقتًا طويلًا للوصول إلى أمريكا، حيث كانت مرسيدس أول من أدخل التكنولوجيا لأمريكا على الفئة S وEQS.
التحدي الآخر هو: كم عدد السائقين الذين سيكونون على استعداد لبذل جهد ربط ساعة بذراعهم قبل كل رحلة أو وضع حلقة صغيرة بسرعة عندما تكون في عجلة من أمرك؟ وإذا لم يتم ارتداء الجهاز، فهل معنى ذلك عدم الوصول إلى بعض ميزات مساعدة السائق الأكثر تقدمًا على الإطلاق، أم أنها ستعمل بشكل أقل فاعلية؟
هناك العديد من الأسئلة بقدر الإجابات، وعلى الرغم من أن جهاز VW قد لا يزال بعيدًا عن إيجاد طريقه الى السيارة ID.4 ،فإن صانع السيارات الألماني يدرك بعض أوجه القصور في أنظمة مراقبة السائق الحالية وكيفية عملها مع المركبات شبه المستقلة، والبحث عن حلول من شأنها أن تخلق في النهاية تنقلًا أكثر متعة وأمانًا
ونقدم لكم من خلال موقع (فيتو)، تغطية ورصدًا مستمرًّا على مدار الـ 24 ساعة لـ أسعار الذهب، أسعار اللحوم ، أسعار الدولار ، أسعار اليورو ، أسعار العملات ، أخبار الرياضة ، أخبار مصر، أخبار اقتصاد ، أخبار المحافظات ، أخبار السياسة، أخبار الحوادث ، ويقوم فريقنا بمتابعة حصرية لجميع الدوريات العالمية مثل الدوري الإنجليزي ، الدوري الإيطالي ، الدوري المصري، دوري أبطال أوروبا ، دوري أبطال أفريقيا ، دوري أبطال آسيا ، والأحداث الهامة و السياسة الخارجية والداخلية بالإضافة للنقل الحصري لـ أخبار الفن والعديد من الأنشطة الثقافية والأدبية.
