براءة اختراع تكشف تطوير تصاميم أحزمة أمان السيارات لتعمل بالتبريد
حزام الأمان، يعتبر حزام الأمان من أهم وسائل الأمان فى السيارات، لذا تحرص شركات السيارات على توفير كل ما هو يحمل تقنيات الأمان والسلامة من خلال تصميم الحزام للحفاظ على قائدى السيارات، وقدمت العديد من براءات الاختراعات لجعل تبريد أحزمة الأمان القابلة للتدفئة والتهوية وجعل ذلك حقيقة واقعة باستخدام طريقة جديدة.
براءات اختراع لتبريد وتدفئة أحزمة الأمان
وأظهرت أحد الأبحاث الخاصة بشركة جنرال موتورز، أن فورد كانت أول من قدم طلب براءة اختراع للأحزمة المسخنة باستخدام عناصر التسخين المنسوجة في القماش، وبعد مرور عام قدمت تسلا طلبا للحصول على سائل ساخن يمكن ضخه في أي وعاء، بما في ذلك الحزام.

وتشير براءة اختراع إلى إمكانية استخدام عناصر التسخين أيضًا، ولكن لديها حل أبسط بكثير وأكثر أناقة، واستخدام نظام تكييف الهواء أو التحكم في المناخ الموجود في السيارة لإنشاء ما تسميه نظام الراحة الحرارية المرغوب فيه للركاب، وهو مصطلح قانوني فاخر للتصميم الداخلي المريح.
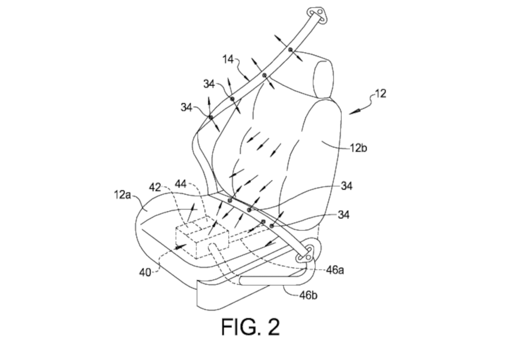
وفقًا لتسجيل براءة الاختراع، تعمل المركبات في درجات حرارة تتراوح من 0 درجة فهرنهايت إلى أكثر من 100 درجة فهرنهايت، وهذا هو سبب أهمية الإدارة الحرارية. سيتكون الحل الحراري الكامل من جنرال موتورز من نظام التحكم في المناخ كما نعرفه وأحزمة الأمان ذات الأكمام المسامية المتصلة بالنظام المذكور، للحصول على التأثير الكامل.

تبريد حزام الأمان
مهما كانت درجة الحرارة التي يختارها الراكب، فسيتم تغذيتها إلى الغلاف المسامي عبر نظام التحكم في المناخ. لذلك لن يحافظ فقط على درجة الحرارة الداخلية المحددة، بل سيكون لديك حزام أمان بارد أو بارد مثلج على اتصال مباشر بجسمك.
يعتني الغلاف المسامي أيضًا بالانتقادات الموجهة ضد الاختراعات السابقة التي ترغب في استخدام عناصر التسخين أو السائل الساخن. ستقوم هذه الأحزمة بتسخين أجزاء صدرك وحضنك التي يغطيها الحزام فقط. سيغطي الهواء الساخن الصادر من الغلاف المسامي مساحة أكبر من الجسم. وكانت براءات الاختراع السابقة هذه مقتصرة أيضًا على التدفئة، في حين أن نظام جنرال موتورز يمكنه بسهولة تغذية الجسم بالهواء البارد.
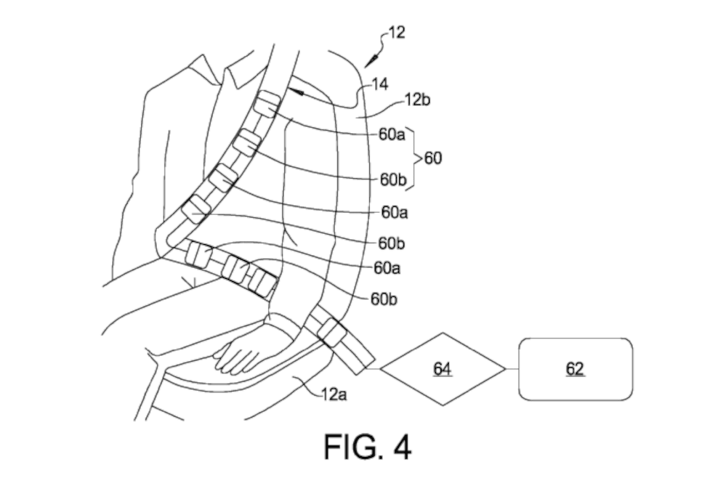
كما ترون في رسومات براءة الاختراع، فإن التحكم في المناخ متصل بشكل دائم بالكم المسامي ولا يتداخل مع الإبزيم. الجزء الأكثر تحديًا في تنفيذ ذلك هو العثور على مصنع يرغب في تصنيع أحزمة الأمان المسامية الجديدة هذه بكميات كبيرة. ويمكن لشركة جنرال موتورز أن تفعل ذلك داخل الشركة، ولكن فقط للطرز الراقية مثل كاديلاك اسكاليد ومنافستها القادمة الباهظة الثمن رولز رويس، سيليستيك.
كيفية تبريد أحزمة الأمان
تتعلق التقنية الحالية بشكل عام بأنظمة تكييف الهواء في المركبات، وعلى وجه الخصوص بجهاز توصيل الهواء المثبت على حزام الأمان للتكييف المحلي لراكب المقعد والذي يتميز بالكفاءة العالية في تبريد الجزء الأمامي من الجذع وتبديد عمود الحرارة أو التدفئة في الجسم الجذع، بغض النظر عن درجة حرارة الهواء في المقصورة.
ونقدم لكم من خلال موقع (فيتو)، تغطية ورصدًا مستمرًّا على مدار الـ 24 ساعة لـ أسعار الذهب، أسعار اللحوم ، أسعار الدولار ، أسعار اليورو ، أسعار العملات ، أخبار الرياضة ، أخبار مصر، أخبار اقتصاد ، أخبار المحافظات ، أخبار السياسة، أخبار الحوادث ، ويقوم فريقنا بمتابعة حصرية لجميع الدوريات العالمية مثل الدوري الإنجليزي ، الدوري الإيطالي ، الدوري المصري، دوري أبطال أوروبا ، دوري أبطال أفريقيا ، دوري أبطال آسيا ، والأحداث الهامة و السياسة الخارجية والداخلية بالإضافة للنقل الحصري لـ أخبار الفن والعديد من الأنشطة الثقافية والأدبية.
